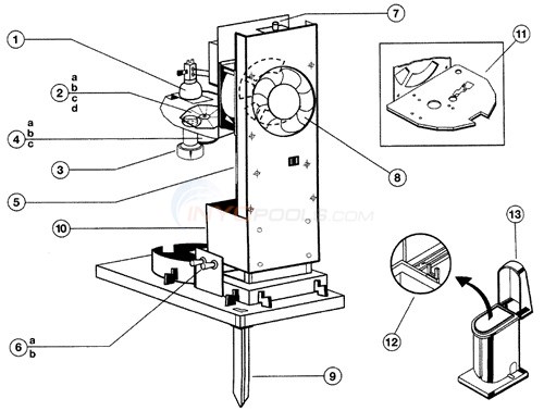
Super Vision Illuminator SV150TMH Parts